软件产品
生产传票管理平台:
目标公司承担多金属多品种多规格板材轧制、热处理、精整及包装生产任务,由于品种规格多,产品又多应用于行业关键领域,生产过程各工序工艺信息、数据传递工作量大,准确性、及时性要求高,工序记录要求严格,历史资料查询频繁,因缺乏有效的技术手段,信息传递效率低,管理难度大,多年来一直制约着该公司发展。
为解决上述问题,提升该公司对生产过程的管控能力和对客户的快速响应能力,促进公司高质量发展,特与我公司合作开展了《生产工艺传票管理系统》开发工作。
平台主要功能:
1.智能经济下料;
2.自动排产;
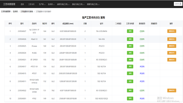
3.自动生成工艺卡片;
4.自动编制生产顺号;
5.各工序工艺卡片自动配置及操作提示;
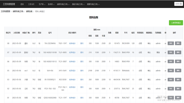
6.合同项目生产进程自动统计报告及合同物料信息等查询。











